豫晖公司介绍一种球磨机整体维修时的筒体起重装置
创建时间 2015-12-05 作者 球磨机 浏览
QQ留言
联系电话:13803857310
球磨机在运行一段时间后,需要对球磨机进行整体维修,例如更换轴瓦、修补磨损的中空轴等,此时需要将筒体提升一定高度。目前采用的起重装置结构复杂、占用空间大,操作人员使用不便,安全可靠性差。
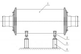
一种球磨机的筒体起重装置,如上图,图中:1-球磨机筒体、2-托架、3-千斤顶、4-方箱。装置包括托架、千斤顶和方箱,所述托架的底部为平面,其上部为与球磨机筒体相匹配的弧形,方箱置于水平地面上,千斤顶放置在方箱上,托架设置在千斤顶上,球磨机筒体置于托架的弧形面上。
在对球磨机进行整体维修时,球磨机筒体通过手动螺旋千斤顶顶起一定高度,然后对球磨机进行维修,具有结构简单、成本低、使用方便、可靠性高、使用寿命长的优点。
下一篇:改进型格子型球磨机排矿装置

