改进型格子型球磨机排矿装置
创建时间 2015-08-20 作者 球磨机 浏览
QQ留言
联系电话:13803857310
改进型排矿装置背景:
格子型球磨机用来粉磨各种矿石及其他物料,被广泛地应用于选矿、建筑及化工工业等国民经济各部门。此类球磨机的出料端中心圆盘是用格子板扣压在端盖上,格子板再用方头螺钉固定在出料端盖上,格子板和中心圆盘之间存在较大摩擦力,使用一段时间之后,格子板和中心圆盘均会产生一定磨损,造成两者之间的间隙逐渐增大,直至中心圆盘脱落,出现设备故障,停机维修,既浪费材料又影响生产。
改进型排矿装置结构:

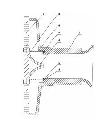
一种改进型格子型球磨机排矿装置,包括格子板和中心衬板,格子板按压在球磨机端盖上,端盖上设有中空的轴颈,中心衬板中间位置设有喇叭形导料柱,轴颈靠近格子板一端的端面上设有凹槽,中心衬板上垂直设置连接杆,连接杆连接环形固定片,环形固定片嵌入凹槽内,环形固定片内、外表面与凹槽之间分别设置滚珠,中心衬板与格子板通过螺栓固定。
改进型排矿装置优势:
结构简单、使用方便,格子板转动时带动中心衬板一起旋转,中心衬板旋转过程中与轴颈端面通过滚珠产生滚动摩擦,大大减小中心衬板与格子板之间的摩擦力,磨损率低,使用周期长,降低了维修工作量和维修费用,提高了格子型球磨机的有效使用率和生产效率。
推荐阅读:图文解说格子型球磨机排矿特点

